AKAs
Patricia Bath, The Inventor of Laser Cataract Surgery Was A Member of Alpha Kappa Alpha

Did you know that African American medical pioneer Patricia Bath was a member of Alpha Kappa Alpha? Bath crossed through the Lambda Chapter of Alpha Kappa Alpha Sorority, Inc.

Patricia Bath was an ophthalmologist, inventor, humanitarian, and academic. She created laser cataract surgery using the Laserphaco Probe, the machine she invented. Bath was born in Harlem, she was inspired by Albert Schweitzer’s work in medicine. She later applied for and won a National Science Foundation Scholarship while still in high school. This resulted in her research at Yeshiva University and Harlem Hospital Center where she made groundbreaking discoveries about cancer and nutrition.

Bath coined the term “Laser phaco” for the process, short for laser PHotoAblative Cataract surgery, and developed the laserphaco probe, a medical device that improves on the use of lasers to remove cataracts, and “for ablating and removing cataract lenses”. Bath is the holder of five patents. You can check them out below.
- U.S. patent 4744360, “Apparatus for ablating and removing cataract lenses“, issued May 17, 1988
- U.S. patent 5843071, “Method and apparatus for ablating and removing cataract lenses” issued December 1, 1998
- U.S. patent 5919186, “Laser apparatus for surgery of cataractous lenses“, issued July 6, 1999.
- U.S. patent 6083192, “Pulsed ultrasound method for fragmenting/emulsifying and removing cataractous lenses, issued July 4, 2000.
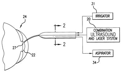
- U.S. patent 6544254, “Combination ultrasound and laser method and apparatus for removing cataract lenses“, issued April 8, 2003.
Share this article with your network and let them know about this interesting fact about Alpha Kappa Alpha.

